Recently, through enterprise inspections, we learned that Xinyuanji, Rayyu Optoelectronics, Changchun Institute of Optics, China Academy of Sciences, Wuhan University and other units have all issued Micro LED-related patents and the latest developments.
Rayyu Optoelectronics: microled micro display chips and their manufacturing methods
On September 8, Rayyu Optoelectronics Technology (Suzhou) Co., Ltd. announced the invention patent for"MicroLED micro display chips and their manufacturing methods", which is currently in the authorization stage.
The application discloses a MicroLED micro display chip and a manufacturing method thereof. The MicroLED micro display chip comprises a driving substrate and a plurality of LED units, each LED unit is independently driven; a step structure at least connects and electrically isolates the second doped semiconductor layers of adjacent LED units from each other.
The first passivation layer covers the LED units and exposes the corresponding first contacts, and the second openings expose the second doped semiconductor layer of the corresponding LED units; and metal reflective covers that are disconnected and electrically isolated from each other and cover the first passivation layer, the metal reflective covers are electrically connected to the second doped semiconductor layer of the corresponding LED units, and the metal reflective covers are electrically connected to the corresponding first contacts through the first openings.
According to the application, thelight emitting angle of the LED is adjusted through the metal reflector to reduce optical crosstalk between pixels; the metal reflector is connected to the first contact and the second doped semiconductor layer, so that the LED pixel resistance can be reduced and the overall power consumption can be reduced.

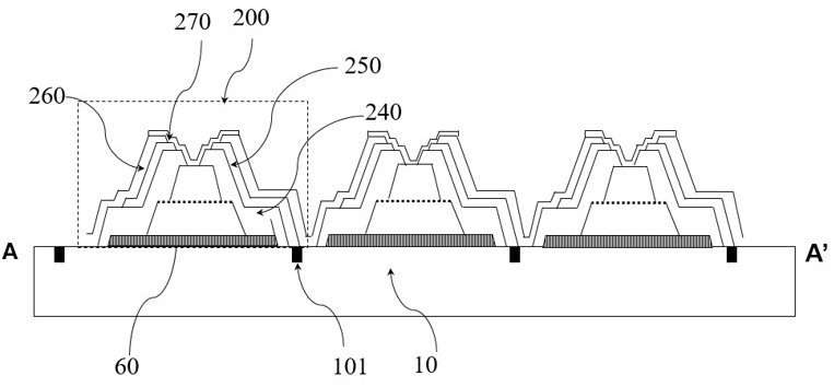
A research institute in Changchun, China Academy of Sciences: A high-efficiency MicroLED chip
On September 15, the Changchun Institute of Optics, Fine Mechanics and Physics, China Academy of Sciences released"a high-efficiency MicroLED chip", which is currently in the application announcement stage.
The invention relates to a high-efficiency Micro LED chip, belonging to the technical field of Micro LED chips. It solves the technical problems that the light emitting efficiency of Micro LED chips in the prior art is lowand the heat dissipation effect needs to be further improved. The Micro LED chip of the invention comprises a PN junction, a second electrode, a first electrode, a dielectric layer and a transparent electrode;
Wherein, there are N PN junctions, all of which are in inverted trapezoidal structures, fixed on the upper surface of the driving circuit substrate, and each PN junction is connected with an electrode of one driving circuit substrate through a second electrode; the first electrode is a common electrode and is connected with all N PN junctions through a transparent electrode, and the dielectric layer separates the first electrode and the second electrode.
The Micro LED chip, through reflection from the inverted trapezoidal electrode, on the one hand, regulates the light exit angle of the LED andincreases the light exit efficiency of the LED; on the other hand, it increases the area of the first electrode, effectively improves the current expansion ability andimproves the device's heat dissipation effect.

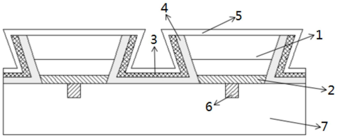
Wuhan University: A MicroLED chip and its manufacturing method
On August 22, Wuhan University announced"a MicroLED chip and its manufacturing method". The patent is currently in the authorization stage.
The invention belongs to the field of display technology and discloses a MicroLED chip and a manufacturing method thereof.
The chip shape of the MicroLED chip provided by the invention is triangular, the chip structure is a thin film flip chip structure, and includes patterned double-layer metal electrodes. Compared with the conventional chip structure, the microLED chip has a higher specific surface area, and the distribution of the n-type electrodes is optimized, the current accumulation effect near the n-type electrode can be effectively reduced, the effective resistance of the n-type semiconductor layer can be reduced, and the heat accumulation effect of the chip can be significantly improved.

Core element base: A Micro LED display device and Micro LED chip
On September 8, Shanghai Xinyuanji Semiconductor Technology Co., Ltd. announced an invention patent for a MicroLED display device and MicroLED chip, and the patent entered the authorization stage.
The utility model provides a MicroLED display device and a MicroLED chip.
The MicroLED display device comprises a MicroLED chip and a CMOS driver chip, the MicroLED chip comprises a first insulating layer, a first ITO film layer and a plurality of pixel points separated after the MicroLED chip and the CMOS driver chip are stacked in sequence, a plurality of P electrode metal pillars are distributed in the first insulating layer, the CMOS driver chip comprises a plurality of positive electrode metal layers, and each positive electrode metal layer is respectively electrically connected with a plurality of P electrode metal pillars, so that the MicroLED chip and the CMOS driver chip are bonded;
A plurality of pixel points are arranged on the first ITO film layer at intervals, and the positive electrode metal layer is arranged in a one-to-one correspondence with the pixel points. When the MicroLED chip performs the pixel alignment bonding process with the CMOS driver chip, before the pixel points are separated, it first performs indiscriminately rough alignment bonding with the CMOS driver chip through multiple P electrode metal pillars. Therefore, the alignment accuracy requirements can be reduced to 200 m, whichgreatly reduces the difficulty of manufacturing the pixel alignment bonding process.

TAG: