Recently, many companies such as Zhaoyuan Optoelectronics and Sinruida have recently entered the application and announcement stage for Mini LED-related patents, covering many key Mini LED processes.
Mega Yuan Optoelectronics: A Miniled chip that can conduct heat
On March 14, Zhaoyuan Optoelectronics disclosed the status of application for a new utility patent for a thermally conductive MiniLED chip in an enterprise investigation.
According to reports, the utility model discloses a thermally conductive Mini LED chip, which comprises an epitaxial layer, a current spreading layer, an insulating reflective layer and an insulating thermally conductive layer grown in sequence on a substrate. It also comprises chip electrodes, wherein the insulating thermally conductive layer is located between the electrodes, and the top surface of the insulating thermally conductive layer is flush with the top surface of the electrode.

Therefore, adding an insulating and thermally conductive layer to the insulating and reflective layer between the chip electrodes can play the role of conducting heat, insulating, and making the chip more stable, which can significantly improve the heat dissipation ability of the chip, and then reduce the attenuation of light efficiency during the long-term chip lighting process and extend the life of the chip.
The patent is currently in authorized status.
Sinruida: A Mini high-angle LED with double bowl cups
On March 7, Sinruida disclosed the current status of invention patent application for a double-bowl Mini large-angle LED in an enterprise investigation.

According to reports, the present invention uses a double bowl holder, and white LEDs and blue LEDs are made in the same holder carrier. The high color gamut white light is the main backlight, and the top DBR blue light complements the high color gamut white light, and is simultaneously matched with low-concentration quantum films to improve the NTSC color gamut value of the display module. The combination of the two can further improve the NTSC value of the high color gamut white light, break through the original color gamut of conventional high color gamut white light products, and gradually benchmark the color gamut value of the Mini LED plus QD film.
The patent is currently in the status of application for publication.
Sinovel Optoelectronics/Sinovel Smart Light Display: A MiniLED control circuit and packaging structure
Recently, Sinovel Optoelectronics/Sinovel Intelligent Light Display disclosed the status of utility model patent application for a MiniLED control circuit and packaging structure in an enterprise inspection.
According to reports, embodiments of this utility model disclose a control circuit and packaging structure of a Mini LED.

It is reported that the technical solution of this utility model solves the problem that the common electrode uses the same signal source and cannot be finely controlled after the signal is fed, thereby realizing refined control of the control circuit and making the control circuit more stable.
The patent is currently in authorized status.
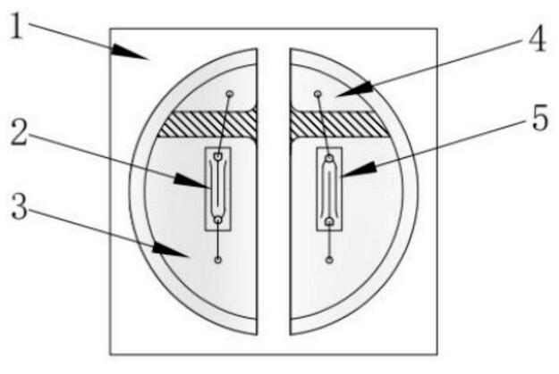
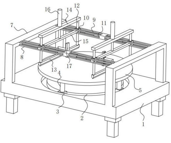
Tong Xingda: Mini LED light board secondary dam enclosure focusing structure
On March 14, Tong Xingda disclosed the current status of utility model patent application for the secondary dam focusing structure of Mini LED light panels in an enterprise investigation.
According to reports, this utility model patent discloses a secondary dam light gathering structure for Mini LED light panels, which can increase the height of the dam without expanding the width of the dam, helping to obtain a better light gathering effect.

Oshcon: A method for manufacturing a high-reflectivity Mini-LED PCB backplane
Recently, Oshcon disclosed the status of utility model patent application for a method for making a high-reflectivity Mini-LED PCB backplane in an enterprise investigation.
According to reports, the present invention provides a method for making a high-reflectivity Mini-LED PCB backplane. After two silk screenings, the overall ink is 405 um. If the ink is too thin or too thick, the reflectivity will be reduced, and the color difference will increase. After testing, the actual PCB can achieve a reflectivity of 91%~92% before reflow, and the reflectivity is still greater than 90% after three IR cycles.

The patent is currently in the status of application for publication.
Guangdong Shuocheng Technology Co., Ltd.: A highly flame retardant resin composition, dry film and its application in MiniLED boards
On March 14, Guangdong Shuocheng Technology Co., Ltd. disclosed the current status of invention patent applications for a highly flame retardant resin composition, dry film and its application in Mini LED boards.
According to reports, the present invention discloses a resin composition with high flame retardancy. In parts by mass, the preparation raw materials include 50 - 100 parts of resin, 10 - 30 parts of active monomers, 1 - 5 parts of curing agent, 1 - 10 parts of flame retardant, 1 - 5 parts of photoinitiator, and 20 - 50 parts of solvent. The raw materials for preparing the solder resist dry film prepared from the resin composition also include 50 - 200 parts by mass of titanium dioxide.
It is worth noting that the dry solder resist film prepared in the present invention has good flame retardancy, excellent heat resistance and chemical reagent resistance, does not contain halogen, and is green and environmentally friendly. When used as a white dry solder resist film for Mini LEDs, the surface of the solder resist layer is uniform and smooth, and the reflectance is more than 85%.
The patent is currently in the status of application for publication.
Jiangsu Dimos Optoelectronics Technology Co., Ltd.: A MINI-LED stereo reflective backlight module
On March 14, Jiangsu Dimos Optoelectronics Technology Co., Ltd. disclosed the current status of invention patent application for a MINI-LED stereo reflective backlight module in an enterprise investigation.
According to reports, this utility model relates to the technical field of Mini‑LED backlight modules, which mainly solves the problem that the existing reflective plate is arranged in a planar manner.
Since the visible light emitted by the LED chip light source diverges to all directions, problems such as uneven light and dark of the light source, poor focusing effect, and dark overall light source are prone to exist. The lamp board and a plurality of LED lamp beads arranged on the lamp board in a row also include a reflective board, the reflective board is provided with grooves corresponding to the plurality of LED lamp beads one by one, and the bottom of the grooves is provided with light gathering holes for the LED lamp beads to pass through; By setting the reflective plate into a body-like structure, the light emitted by the LED lamp beads passes through the reflection effect of the inner wall of the inverted trapezoidal groove, so that it is finally concentrated and emitted in the frontal direction, thereby achieving concentration and brightness enhancement, and making the overall Mini‑LED three-dimensional reflection The light output of the backlight module is more uniform.
The patent is currently in authorized status.
TAG: